Chênh lệch áp suất, nhiệt độ hay độ ẩm là những thông số quan trọng trong phòng sạch. Ở phần 6 của chuỗi bài Thi công phòng sạch thiết bị Y tế này, chúng ta sẽ cùng nhau giải quyết các vấn đề về những thông số này.
Mục Lục Hệ thống HVAC và Chênh lệch áp suất Những yếu tố cho thấy không khí trong phòng sạch có vấn đề Thiết bị kiểm tra luồng không khí Vấn đề điều khiển của Fan Filter Unit |
Hệ thống HVAC và Chênh lệch áp suất
Chúng ta đều biết, chênh lệch áp suất trong phòng sạch có ảnh hưởng rất lớn từ hệ thống HVAC.
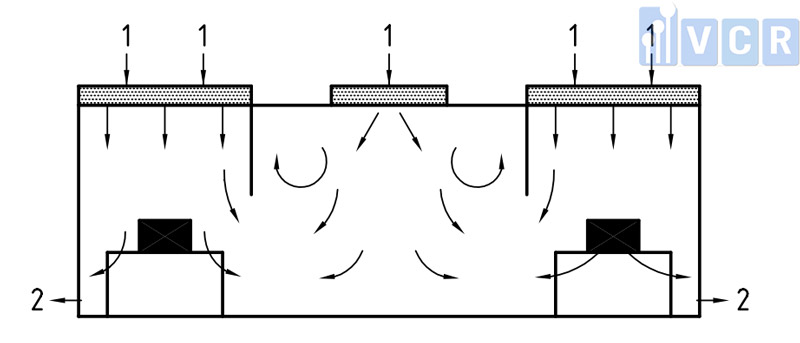
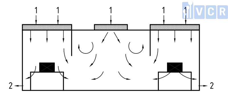
Hầu như tất cả các phòng sạch sản xuất thiết bị y tế đều có thiết kế áp suất dương hoạt động 24/7. Việc phân phối khí cần được tối ưu hóa và các đường hồi khí được bố trí tốt đảm bảo luồng không khí lưu thông một chiều từ điểm đầu vào đến điểm thoát.
Luồng không khí trong phòng sạch ISO 7 / ISO 8 thường được định nghĩa là “luồng không khí đa hướng” hoặc “luồng không khí hỗn hợp”. Các kiểu luồng không khí hỗn hợp thể hiện cả luồng không khí nhiều lớp (một chiều) và luồng gió đa hướng, nơi không khí trộn lẫn trong quá trình cảm ứng.

Trong quá trình hiệu chuẩn phòng sạch và cân bằng HVAC, việc kiểm tra, đo lường và điều chỉnh từng hệ thống để trở thành trạng thái hoạt động hiệu quả nhất của nó. Và chúng ta cần kiểm tra các yếu tố sau:
- Hệ thống cấp và hồi khí
- Hệ thống nạp và xả
- Không khí thay đổi mỗi giờ
- Áp suất phòng
- Cân bằng luồng không khí
Xem thêm: Chênh lệch áp suất là gì
Những yếu tố cho thấy không khí trong phòng sạch có vấn đề
Các yếu tố ảnh hưởng đến chất lượng không khí trong phòng sạch bao gồm :
- Nhiệt độ không khí
- Chuyển động của không khí (hướng, vận tốc)
- Điều kiện dòng chảy cung cấp và dòng hồi lưu, bao gồm chênh lệch áp suất giữa các khu vực xung quanh
- Lưu lượng khí tươi
- Ảnh hưởng của các hệ thống HVAC hiện có
- Ảnh hưởng của thời tiết
Ngoài ra, FFU là thiết bị bổ trợ cho hệ thống HVAC trong phòng sạch thiết bị y tế, chúng ta cần đảm bảo nó hoạt động ổn định theo đúng thiết kế để tránh các sự cố.
Xem thêm: FFU là gì
Thiết bị kiểm tra luồng không khí
Một thiết bị có nắp chụp luồng không khí cung cấp khả năng phản hồi nhanh và tránh các kết quả có thể lặp lại trong các tình huống lưu lượng lớn. Phần mui bên dưới có kích thước 2 x 2 là nơi tính toán CFM, tốc độ không khí và vận tốc. Khả năng đọc trực tiếp và tầm với xa là một giải pháp tốt cho những trần nhà cao và tránh việc phải sử dụng thang trong phòng sạch.

Các cảm biến sẽ cung cấp khả năng bù áp suất ngược ở tốc độ dòng chảy cao và tự động nhận biết không khí cung cấp hoặc hồi lưu. Việc có kích thước phù hợp với các bộ lọc sẽ giúp đảm bảo vị trí đo nhất quán và kết quả đọc chính xác. Diện tích bề mặt lớn, hiển thị kết quả nhanh hơn, vì các phép đo không yêu cầu nhiều điểm lấy mẫu hoặc tính toán diện tích bề mặt.
Vấn đề điều khiển của Fan Filter Unit
Ở công trình này, mỗi FFU được kết nối với tín hiệu Ethernet thông qua một chuỗi cáp CAT5 chạy tới các hộp điều khiển trên FFU. Bộ điều khiển trung tâm và màn hình hiển thị ở bên ngoài phòng sạch có khả năng điều khiển toàn bộ và đơn lẻ cho 16 - 400 FFU cũng như cấu hình 8 - 25 phòng hoặc nhóm FFU khác nhau.
Khắc phục sự cố về điều khiển FFU
Trong trường hợp này, hai FFU không được kết nối đúng cách với bộ điều khiển chính và gây ra lỗi cho khoảng một nửa FFU của phòng. Các thiết bị đã được cấp điện nhưng không có tín hiệu với hệ thống điều khiển do sự cố dây dẫn. Hệ thống cho phép xem xét trạng thái và các mã lỗi của từng bộ lọc, khởi động, quan sát quá trình bắt đầu và tìm ra bộ lọc chính xác để kiểm tra. Nếu không có hệ thống thông minh, việc xác định nguồn gốc của vấn đề có thể mất đến cả ngày chỉ để kiểm tra từng liên kết các bộ lọc một. Tại đây, chúng ta có thể xác định và khắc phục sự cố chỉ trong vòng vài phút.

Khả năng điều khiển trung tâm và từ xa sẽ giúp giảm thiểu các biến số và xác định vấn đề nhanh hơn. Bật / tắt, tốc độ quạt, trạng thái, cảnh báo, RPM của quạt và ghi lại nhật ký lỗi có sẵn trực tiếp từ bảng điều khiển hoặc trình duyệt PC. Hầu hết các sự cố được chẩn đoán bằng cách quét nhanh các mã lỗi.
Điều khiển FFU từ xa
Bộ điều khiển trung tâm tích hợp dữ liệu từ cả bộ điều nhiệt, bộ xử lý FFU và cảm biến môi trường bên phòng. Tốc độ lọc của quạt sau đó được điều chỉnh theo từng nhóm để đạt được áp suất phòng theo quy định, đồng thời đáp ứng nhiệt độ và độ ẩm lý tưởng. Sau đó, mỗi nhóm FFU sẽ được điều chỉnh đồng bộ để duy trì sự chuyển động cân bằng và đồng đều của không khí trong toàn bộ phòng sạch.
Hệ thống điều khiển sẽ điều chỉnh luồng gió của từng phòng một cách độc lập thông qua bộ điều khiển trung tâm cho phép hiệu chỉnh và giám sát trong thời gian thực. Từ đó, chúng ta có thể kiểm soát các thông số chênh lệch áp suất cho phòng
Mỗi không gian của phòng sạch được điều chỉnh độc lập để đạt được sự cân bằng và chênh áp thích hợp giữa mỗi phòng.
Kiểm soát nhiệt độ và độ ẩm không khí trong phòng sạch
Kiểm soát nhiệt độ và độ ẩm không khí trong phòng sạch yêu cầu các biện pháp đặc biệt để kiểm soát giữa các vùng. Ở đây, mỗi vùng yêu cầu nhiều cảm biến và chỉ số độc lập về nhiệt độ, độ ẩm và cột nước.

Mỗi bộ điều nhiệt được liên kết với các cảm biến độc lập của riêng nó để kiểm soát độ ẩm và nhiệt độ trên cơ sở từng phòng:
Cân nhắc cuối cùng
- Cần xác định loại hệ thống phòng sạch nào phù hợp nhất với nhu cầu của bạn
- Quan tâm đến các rào cản xây dựng như yêu cầu đối với thang máy, an toàn cháy nổ và công suất điện
- Kích thước thiết bị và sự tích hợp liên quan đến các yêu cầu về cơ, điện và hệ thống ống nước
- Quy trình làm việc tiện dụng và quy trình làm việc dựa trên ứng dụng
- Vẻ ngoài, thẩm mỹ và sở thích
- Năng lực quản lý dự án và xác định các đầu mối dự án nội bộ
#thietbiphongsachvcr #viethamcleanroom #VCR #thietbiphongsach #nhacungcapthietbiphongsach #thietbiphongsachlagi #thietbiphongsachvcr
0 Nhận xét